型号:sdl-xq3134A-03S2700
产品使用对象:阀门类
产品执行功能:感应
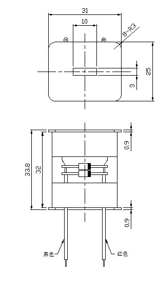
开关感应电磁阀线圈参数
| 电压: | 3V | 高度: | 电阻: | 寿命: | |||
| 电流: | 通电率: | 耐温: | 功率: | ||||
| 线圈高斯: | 外径: |
开关感应电磁阀线圈产品详情
名称:开关感应电磁阀线圈
型号:sdl-xq3134A-03S2700
产品使用对象:阀门类
产品执行功能:感应
拓展适用行业:开关装置
特点:带反向保护、电压3V
.jpg)

广州思德隆电子有限公司()创立于2005年,是一家专业生产研发联系我们,电磁阀,买球-买球(中国),小型联系我们等各类电磁产品,拥有丰富行业经验的广州联系我们、电磁阀、电磁阀线圈厂家。品种多样,规格齐全,产品从零部件到成品组装均有自己的加工设备以及流水线,拥有高精密度检测仪器和自主研发的老化设备,开关感应电磁阀线圈从产品设计到样品以及量产,均有量化高效的工艺流程及老化实验检测,保证了产品的质量与订单的按时交货。
关键词:开关感应电磁阀线圈,开关装置电磁阀线圈,感应电磁阀线圈定做









